Господа физики, поздравляю вас с замечательными результатами, которые вы получили в экспериментах с однофотонными источниками излучения!
В новом году вас ожидает интересная и творческая работа!
Книги по квантовой механике вы можете смело сдавать на утилизацию и начинать писать новые!
До сих пор довольно широко распространен такой предрассудок о размерах фотона: эти размеры якобы равны длине волны фотона. Откуда этот предрассудок взялся доподлинно неизвестно, предположительно он ведет свое происхождение от корпускулярной теории света.
Неизвестно также, откуда пошла другая традиция – изображать фотон в виде короткого радиоимпульса следующего вида:

Теперь же экспериментально доказано, что размеры области локализации фотона в пространстве намного превышают длину его волны.
Опыты с однофотонными источниками доказали наконец вполне убедительно, что фотон – это узконаправленный радиоимпульс с большим числом периодов колебаний: толщина области локализации в пространстве для фотонов видимого спектра измеряется миллиметрами (по результатам экспериментов с прохождением фотонов через щели), а длина – метрами (по результатам экспериментов с интерферометрами).
Фотон – это маленький, но вовсе не микроскопический сгусток электромагнитной энергии. График напряженности электрического поля для фотона должен выглядеть похожим на график вынужденных колебаний, амплитуда которых не успевает стабилизироваться, так как электрон в какой-то момент испускает фотон вперед по ходу движения (и снижает при этом свою скорость, когда фотон отрывается от его поля):

Приведенный выше пример – упрощенный. На самом деле имеют место миллионы периодов колебаний, а не несколько десятков.
Не может фотон считаться частицей.
Он вообще не может считаться микроскопическим объектом!
Кстати, очень странно, что в печати упоминаются однофотонные эксперименты исключительно с щелями и интерферометрами.
Есть такой старинный, но ничуть не утративший своей эффективности прием добывания информации: обращать внимание нужно не только на то, кто и что делает, но и на то, что не делает!
Особенно интересно, когда люди упорно не делают того, что по логике развития ситуации обязаны были сделать. Видел ли кто-нибудь в литературе описания однофотонных экспериментов с зеркалами Френеля, бипризмой Френеля, тонкими стеклянными пластинками?
Но веселье на самом деле этим не ограничится, оно только начинается.
Вернемся к интерферометрам.
Современные интерферометры принципиально отличаются от интерферометров XIX века тем, что в них применяются источники монохроматического излучения – лазеры.
Проблема заключается в том, что лазер изобрели в 70-х годах прошлого века, а все применявшиеся до этого момента источники света не являлись монохроматическими. В солнечных лучах и лучах, создаваемых разнообразными лампами, горелками, свечами и даже светодиодами все фотоны разные: они отличаются длиной волны и поляризацией, поэтому взаимодействовать друг с другом не могут.
Рисунки, объясняющие эксперименты по интерференции света XIX и начала XX веков – не правдоподобные! Фотоны открыли более ста лет тому назад и пора, наконец, перерисовать картинки в учебниках, чтобы они не вводили читателей в заблуждение.
Возьмем в качестве примера учебник Савельева (Курс общей физики, том III. Оптика, атомная физика, физика атомного ядра и элементарных частиц. Савельев И. В., 1971):
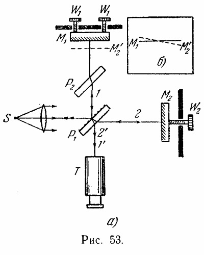
На рисунке 53, приведенном на странице 100, показана схема работы интерферометра Майкельсона:

Повторяю, что в опытах Майкельсона использовался немонохроматический свет, все фотоны имели разные длины волн и никак не могли взаимодействовать между собой.
На этом рисунке можно на самом деле почти ничего не менять. Нужно только учитывать, что это один очень «длинный» фотон путешествует туда-сюда между зеркалами и сам с собой взаимодействует на зеркале P1.
Но интересно, а что происходило с фотонами в опыте, который Физо провел в 1851 году с лучами света, в движущейся воде (рисунок 136 из того же учебника)? Каждый фотон прокручивался по кольцу, образованному зеркалами, а потом интерферировал со своим же собственным «хвостом»?

Установка, схема которой изображена рисунке 138, использовалась в экспериментах Майкельсона и Морли, осуществленных в 1887 году и имела довольно крупные габариты.

Вопрос: это фотоны на самом деле такие длинные или в эксперименте Майкельсона происходило совсем не то, что изображено на картинке?
Как в данном случае один фотон смог бы пройти поочередно двумя разными путями и провзаимодействовать с самим собой?
Природа света

Комментарии
А чем отличается длина фотона от его области локализации в пространстве?
Например, длина сосиски 12 сантиметров, а какова еë область локализация в пространстве?.. Например, в тот момент, когда я несу её на вилке к горчице?
Я не физик, но интересуюсь))
Фотон отличается от сосиски тем, что является сгустком энергии и его размеры не измерить штангенциркулем.
Сосиска - это тоже сгусток энергии, как и штангенциркуль. Мы измеряем сгустки энергии сгустками энергии, являясь сгустками энергии.
Если фотоны такие большие, как работают глаза и другие оптические матрицы?
Хорошо, фотон - это невкусный сгустк энергии. Так чем же отличается размер предмета ( ну волны) от области его локализации в пространстве?
По мне так очевидно, что нас подводят к мысли, что фотон не частица, а поле. Что во вседенной есть только один фотон)))
Фотон – это волна. Не путайте понятия.
фотон- это физическая элементарная частица. это вот важно- это не какая-то там "частица" понятная обывателю без образования, типа частицы песка или там, картохи какой, или частица "не", а именно "элементарная частица" и не просто "элементарная", а именно физическая элементарная частица- это термин, имеющий очень четкое значение, узкоспециальное, малопонятное и неинтересное.
Свет- это не волна, это поток фотонов. Он, поток этот, демонстрирует некоторые волновые свойства, то есть, некоторые особенности поведения такого вот потока фотонов выглядят точно также, как как свойства знакомых нам упругих волн или волн на поверхности воды. Например, как луковица похожа на теннисный мячик, или там, как желейный червяк похож на живого. Но от того, что некоторые свойства потока фотонов похожи на свойства волн- никак не следует вообще, что поток этот есть поток волн. это вот офигительно сложно понять обывательским мозгом, но вот оно так вот. это как с искусственным интеллектом- он вот демонстрирует некоторые свойства нормального, живого интеллекта- ну там,
интерферируетна вопросы голосом отвечает, или там,дифрагирует, может подвести резюме каком-нибудь тексту, но интеллектом- не является. хотя и похож. :-). Так вот- еще раз- фотон- не волна, волна- не фотон, хотя некоторые проявления у них похожие.Фотон – это узконаправленный радиоимпульс, причем имеющий большое количество периодов колебаний.
А теперь вернемся к рисункам из учебника, которые я привел в своей статье.
Как на самом деле двигался фотон в том или ином интерферометре?
Какой был порядок отражения фотона зеркалами?
Человеки не знают что такое фотон. Они могут подобно слепцам, ощупывающим слона, узнавать какие-то частности о фотоне.
Как по мне - это натягивание совы на глобус обусловлено лишь тем, что для восприятия этого диапазона частот (видимого света) у человека есть глаза, вот он и и тянет её, бедную.
Фотон - это фотон. Как мы обзываем его и поведение его фотону пофиг. КМ только описывает статистику явлений некими формулами и предсказывает события на основе этой статистики, не больше, и не меньше. Если вы предложите лучший вариант описаний и сделаете крутые предсказания на этой основе, вам только аплодировать все будут. Где ваша альтернатива и что конкретно она предсказывает из измеримого? Пока видно только удивление человека, впервые с КМ столкнувшегося. Вы не первый, целый Эйнштейн в свое время глупостей наговорил, хотя является одним из создателей КМ по сути.
Попробуйте объяснить рисунки, которые я привел в своей статье, с точки зрения современной квантовой механики.
Получится, что при использовании немонохроматического света эти интерферометры работать не могли.
А зачем мне объяснять рисунки, когда на деле все работает так, как предсказывает КМ? Или есть какие-то ситуации, когда КМ в микромире не сработала?
На рисунках как раз показана ситуация, когда интерферометры не могли бы работать в соответствии с существующими теориями при использовании немонохроматического света. А в XIX веке свет имелся в наличии только такой.
Так они не работают? Предложите эксперимент, в котором результаты работы интерферометров будут показаны как не значащие или же требующие поправок. Измеряющие длины во всем подряд вплоть до станков будут вам безмерно благодарны за улучшение измерений!
Правда – не понимаете?
Интерферометры – работали!
Не работают современные теории.
То есть созданные по современным теориям Спектры-Л или там сахарометры у самогонщиков не работают?
В соответствии с современными теориями интерферометры XIX века не должны были работать. А они – работали.
Так может вы неверно понимаете современные подходы или же устройство тех примитивных интерферометров? Раз и подходы работают, и интерферометры.
А вы попробуйте сами объяснить работу тех старых интерферометров, используя современные подходы.
Так я использую современный подход. А вы какие-то фантазии про невозможность монохроматизма.
Пока вы ничего не объяснили.
Повторяю: излучение было не монохроматическим, а в соответствии с современными теориями фотоны с разной длиной волны друг с другом не взаимодействуют.
Так вы ничего и не спрашивали. Я лишь указал на глобальную и локальную ошибку в ваших рассуждениях:
- глобально КМ все-таки работает, а альтернативы не предлагают осуществимых опытов
- локально проблема в том, что вы не понимаете терминов и не понимаете, что описание не равно событию, но особенно ЛЮБОЕ похожее описание не годится )
Готовы обсудить конкретно монохроматизм и взаимодействие фотонов в опытах? Для этого нам не нужен интерферометр целиком, только щель как рабочая часть установки и глаз как детектор (примитивный спектрометр как основа примитивного интерферометра).
Пожалуйста: можем обсудить только щель!
Она не может превратить немонохроматическое излучение в монохроматическое. Она может только сузить спектр за счет использования дифракции.
Как имели фотоны разные длины волн до щели, так и будут иметь. Только фотонов после ее прохождения станет меньше.
А она и не превращает. давайте по шагам.
- Разные длины волн (радио., ульрафиолет) несомненно требуют разных "щелей", более того, и идеальных щелей с идеальным расстоянием между краями на всем протяжении по сути не существует, но тем не менее класс объектов "щель интерферометра" в макромире себя проявляет сатистически
- и при этом близкие длины волн дают очень близкий результат отклонения на одной и той же не особо идеальной, но подходящей щели, это статистически достоверно для обусловленных вероятностей события для макромира, где есть "пучок света", "щель" и "детектор"
- наш детектор вообще чисто квантовомеханический и по сути игнорирует волновую природу света, родопсин взаимодействует с квантам любых энергий рядом с ним по статистическому закону, где шанс взаимодействия с квантом ДВ радиоволны околонулевой (нулевой с т.з. времени существования Вселенной), с гамма-квантом тоже околонулевой (но не нулевой, он может попасть точно в родопсин в каком-то нехарактерном для видимого света кластере), а для группы длин волн около максимума поглощения он очень высоковероятен, и при этом не требует идеального попадания длины волны в "энергию" конкретного энергетического уровня какого-то атома в молекуле, более того, сам детектор получился в результате эволюции таким, что чувствителен не к единственной точнейшей длины волны, поле вероятностей взаимодействия у него весьма широко, собсно сложность молекулы по сравнению с примитивом в лазере в случае самовозбуждения намекает
- в итоге мы имеем после разделения на достаточной ширине щели неидеального смешанного света достаточной яркости пучок (линию) волн достаточной для детекции глазом яркости, достаточно близких по длине, чтобы хорошо взаимодействовать с имеющимся родопсиновым детектором, еще и сигнал фильтруется сетчаткой и мозгом потом, выделяя или приглушая событие
Везде сплошь волны, а на выходе чудесное корпускулярное взаимодействие, которое вдобавок можно сузить до детекции отдельных фотонов (клетки сетчатки ин витро действительно реагируют на единичные фотоны с определенной вероятностью), но при этом полноценная детекция только при условиях выше граничных по интенсивности света и характеристикам щели, которые и дают видимую глазом полосу на отражающей части прибора или сразу от луча на сетчатке. Той или иной яркости того или иного цвета. Но всегда как статистический результат сочетания событий для источника, щели, чувствительности детектора.
Вот это явление мы и назвали "монохроматическим светом".
Ключевое здесь в вероятностях детекции, которое по сути взаимодействие "фотона" с "виртуальным фотоном", нужное для описания взаимодействия фотона с "веществом". В интерферометре такое взаимодействие происходит при пересечении групп разеделенных фотонов достаточной интенсивности - каждый находит себе пару для поглощения или усиления в зоне пересечения пучков, которая сама себе детектор. В случае однофотонных событий оптический интерферометр параметров 19 века как статистический прибор невозможен к применению. А "современная теория", привлеченная вами, как раз говорит об однофотонных событиях. Не о статистике в конкретном интерферометре или в глазе.
я вам напомню, что по современным теория фотоны с фотонами вообще не взаимодействуют. никак и никогда. ни одной частоты, ни разной. а интерферометры работают потому, что у них главный минимум (или максимум, как настроить) интерференции для фотонов любой частоты- в одном и том же месте. поэтому любое изменение плеч интерферометра приводит к тому, что этот главный минимум или максимум для всех фотонов сдвигается. причем, сдвигается почти одинаково, и поэтому вся интерференционная картина ползает как единое целое. и потому наблюдается хоть в монохроматическом свете, хоть в белом. радужные кольца и радужные полосочки этих интерференционных картин от белого света в свое время понаблюдал всласть :-) от обычного белого света обычной лампочки накаливания.
Я привел три разных картинки из учебника.
И так, как же движется фотон по интерферометру и где именно он сам собой взаимодействует?
Фотон взаимодействует сам с собой в любой момент времени независимо от наличие интерферометров )
Без подковырки: а как тогда происходит электрослабое взаимодействие, если не процессами с участием фотонов и бозонов? Есть промежуточные агенты?
вообще-то волны разной длины могут складываться и вычитаться друг с другом....
Это настолько старая тема, на сколько и старая тема про один электрон-позитрон....
Объяснение к результатам экспериментов привирается.
В данном случае сто лет правдоподобное объяснение сочинить никак не могут.
Покажите что из этого вранья не существует и как это отражается на результатах каких-либо экспериментов с теми же интерферометрами или с щелями. У вас есть результаты собственных экспериментов, которые не сходятся с историческими?
Это исторические (XIX века) результаты не сходятся с современными представлениями. А не сходятся они по той причине, что именно современные представления абсурдны.
Какими не сходятся? Что из предсказанного КМ не работает?
Повторяю: в XIX веке свет использовался не монохроматический. Все фотоны были разные.
Вы мой ответ про гелий принципиально игнорите?
Еще раз, если все не так, как на самом деле, почему предсказанное КМ работает лучше, чем что угодно другое? Фактически работает - вплоть до такой настольной банальщины, как измерение концентрации сахаров в растворе.
Я вам пытаюсь объяснить, что монохроматическим излучением часто называют то, что таковым не является.
А я вам пытаюсь объяснить, что излучение достаточно монохроматическое для получения достаточно ярких, выделяющихся освещенных линий в спектрометрах, интерферометрах и т.д.
Вы самого главного не понимаете - у измерений есть достаточная точность и достаточная наглядность. Линия яркая - считай монохром ) Если все плывет - сужай спектр доступными исторически способами (лазер, охлаждаемый лазер, контролируемая среда проводника и детектора от того же простого макроскопического охлаждения до конденсата Бозе-Эйнштейна). Когда все вроде бы ок, а теория сдатстся, тогда и поговорим. У вас есть данные о том, что в каких-то экспериментах согласно вашим выкладкам все будет совсем не так, как предсказывает КМ и "теория интерферометров" в частности? )
Излучение не может быть «достаточно монохроматическим». Оно либо монохроматическое, либо не монохроматическое.
В соответствии с современными теориями фотоны с разной длиной волны не могут взаимодействовать. На самом деле это не так – существует явление биений в лазерном луче, но биения только размывают картинку, делая ее бегущей.
Излучение может быть каким угодно, потому что излучение это то, что мы называем излучением, а монохроматизм это то, что мы называем монохроматизмом. Линии в спектрометре существуют для нашего глаза объективно (множество наблюдателей подтверждает), интерферометры 19 века работают объективно (множество наблюдателей подтверждает), интерферометнры 21 века работают объективно (результаты выработки изделий в станках или механического контроля измерений глобальными системами позиционирования объектов на местности подтверждают). А вот что субъективно, так это ваше понимание некой "современной терории".
Правильно, на практике интерферометры работают, а неправдоподобные объяснения их работы дают современные теории.
Если объяснение их работы неправдоподобно, как смогли сделать такую сложную систему измерений интерферометрами, как Спектр-Л? )
В современных интерферометрах используются лазеры, поэтому теоретические проблемы не так заметны.
Работать можно и на основе совершенно неправильных представлений о сути явления. Теплород с флогистоном долгое время использовались для расчетов.
Так и лазеры не дают идеального монохроматического света по сравнению с щелью. Даже если дают холодненькие, передача в воздухе точно вносит разлад ) да что там, само существование лазеров на тепленьких газах противоречит "современной теории" в вашем изложении - типа немонохроматический свет с собой не взаимодействует.
Понятие "Энергия" не материальное, а интегральное. Энергия это интегральное свойство материи.
Как может существовать "сгусток свойства" ?
Писатели, конечно , могут позволить себе метафоры, типа "Аристарх представлял собой на поле боя сгусток слабоумия и отваги...", но не физики
.
Интеграл по области пространства.
по Вашей ссылке про интегральность- ваще ни слова. Это Вы насочиняли че-то...
Все корректно написано в российской сетевой энциклопедии, которая рецензируется физическим отделением РАН. Слово "общая" хорошо видно?
.
Как пишут в ВУЗовских учебниках по теормеху:
общая. но не интегральная мера, а количественная! это раз.
второе- Функция Лагранжа механической системы. так вот механическая энергия механической системы действительно является интегралом движения. но у нас ведь есть не только механические системы, и в них есть не только механическая энергия! поэтому решительно непонятно, с чего вы энергию вообще называете интегральной характеристикой чего-то иного и на этом еще и утверждаете, что сама по себе энергия в виде фотонов существовать не может. в виде дефекта массы она почему-то существовать может, а в виде фотонов- нет. а с чего запрет-то такой?
Страницы